Magnetic Position Sensors

Linear Hall-Effect Sensor ICs with Analog Output in Miniature Package

A1308-9

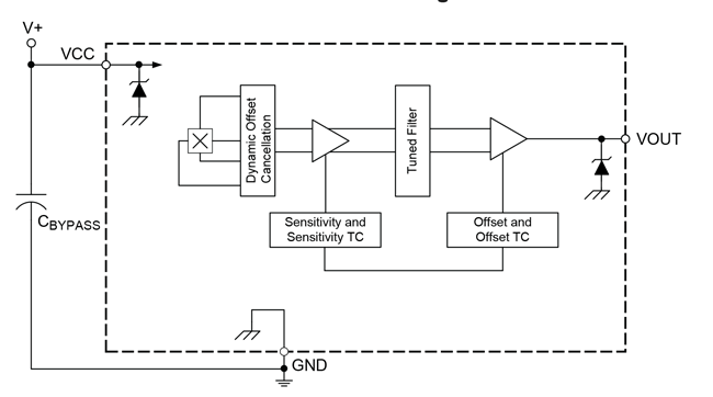
Serving as a replacement for the A1318-9, the A1308/9 linear Hall-effect sensor ICs provide accurate and stable analog output in miniature surface-mount and through-hole packages. Ideal for space-constrained automotive and industrial applications.

Product Details

Top Features

  • 5 V supply operation
  • QVO temperature coefficient programmed at Allegro™ for improved accuracy
  • Miniature package options
  • High-bandwidth, low-noise analog output
  • High-speed chopping scheme minimizes QVO drift across operating temperature range
  • Temperature-stable quiescent voltage output and sensitivity
  • Precise recoverability after temperature cycling
  • Output voltage clamps provide short-circuit diagnostic capabilities
  • Undervoltage lockout (UVLO)
  • Wide ambient temperature range: –40°C to 150°C
  • Immune to mechanical stress
  • Enhanced EMC performance for stringent automotive applications
  • Allegro Sensor Bias LDO

Part Number Specifications and Availability

Design Tools