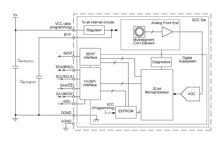
The A1335 family of System-on-Chip (SoC) sensors delivers high-resolution, 360° contactless angle measurement. Integrated linearization algorithms correct for magnetic non-linearities, ensuring accurate performance in both on-axis and off-axis designs and simplifying system integration.
The family includes the AEC-Q100 qualified A1335 for automotive applications (with I2C, SPI, and SENT interfaces) and the A1335N for industrial use cases (with I2C and SPI interfaces).
Product Details
Product Details
Top Features
- 360° contactless sensing with 12-bit resolution and 32 µs refresh rate
- Circular Vertical Hall (CVH) technology for on- and off-axis applications
- Selectable I2C, SPI, and SENT (A1335 only) digital interfaces
- On-chip harmonic and segmented linearization algorithms
- Programmable EEPROM with ECC for storing calibration settings
Part Number Specifications and Availability
Technical Documentation
Application Note
Using the A1335 in a Short Stroke Application
Application Note
Guidelines for Using Allegro Angular Sensors
Application Note
Slide By Sensing for Long Stroke applications using Allegro Angle Sensors
Application Note
Advanced Programming with ASEK DLLs Harmonic Linearization
Application Note
Microcontroller-Based Linearization of Angular Sensor ICs
Application Note
Advanced On-Chip Linearization in the A1335 Angle Sensor IC
Brochure
Enhancing Robotic Design
Technical Article