LED Drivers

High-Brightness LED Current Regulator with PWM Dimming and Protection

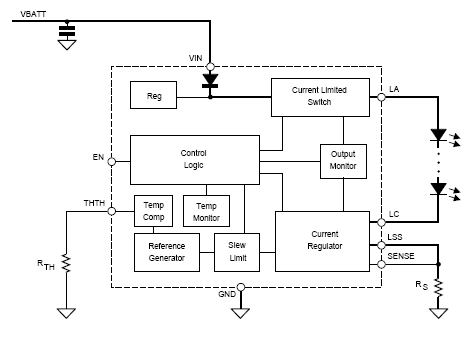
A6260

The A6260 provides a simple and efficient solution for driving high-brightness LEDs, offering programmable current up to 350mA, PWM dimming, and integrated protection features for safe and reliable operation.

Product Details

Top Features

  • AEC Q-100 qualified 
  • LED drive current up to 350 mA
  • 6 to 40 V supply
  • Reverse battery protection
  • Low drop-out voltage
  • LED short circuit and thermal protection
  • 10 µA maximum shutdown current
  • PWM dimming control input
  • Current slew rate limiting
Target Application

Part Number Specifications and Availability

Design Tools