Current-Sensor-ICs
10 MHz XtremeSense™ TMR Current Sensor with Integrated Overcurrent FAULT Detection and Output Voltage Reference
ACS37100
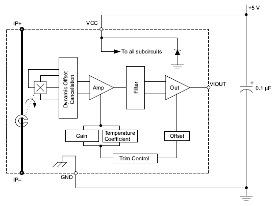
The Allegro ACS37100 is a fully integrated XtremeSense™ TMR current sensor offering high accuracy and low noise for demanding control loop applications. With a 10 MHz bandwidth and 50 ns response time, this sensor provides precise current measurement and features integrated overcurrent FAULT detection for robust system protection. Its high isolation and differential sensing capability ensure reliable performance in noisy environments, simplifying design and enhancing safety.
Product Details
Product Details
Top Features
- High bandwidth, 10 MHz analog output TMR current sensor
- VREF output voltage for differential routing in noisy application environments
- FAULT output with adjustable threshold for fast open drain overcurrent detection
- 1.2 mΩ SOICW-16 package supports 565 VRMS reinforced isolation
- AEC-Q100 Grade 0 qualified