1 MHz Bandwidth, Galvanically Isolated Current Sensors with Overcurrent Fault Detection
ACS732-3
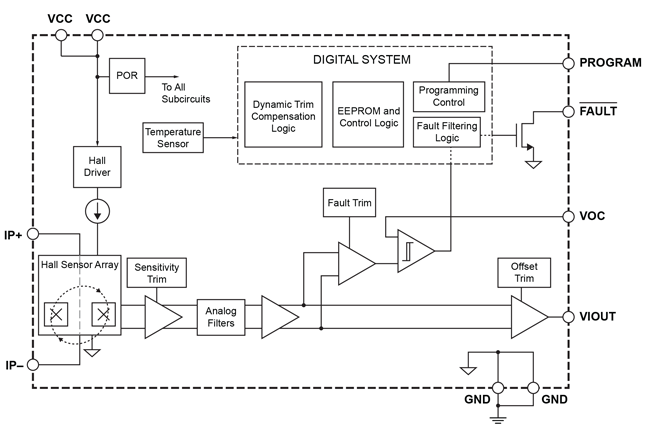
The ACS732/3 current sensors provide high-bandwidth (1MHz) current sensing with user-configurable overcurrent fault detection and galvanic isolation. The ACS732 is designed for 5V operation, while the ACS733 operates at 3.3V.
Product Details
Product Details
Top Features
- AEC-Q100 automotive qualified
- High bandwidth, 1 MHz analog output
- Differential Hall sensing rejects common-mode fields
- High-isolation SOIC16 wide body package provides galvanic isolation for high-voltage applications
- Industry-leading noise performance with greatly improved bandwidth through proprietary amplifier and filter design
- UL60950-1 (ed. 2) certified
- Dielectric Strength Voltage = 3.6 kVRMS
- Basic Isolation Working Voltage = 616 VRMS
- Fast and externally configurable overcurrent fault detection
- 1 mΩ primary conductor resistance for low power loss and high inrush current withstand capability
- Options for 3.3 V and 5 V single supply operation
- Output voltage proportional to AC and DC current
- Factory-trimmed sensitivity and quiescent output voltage for improved accuracy
- Nearly zero magnetic hysteresis
- Ratiometric output from supply voltage
Part Number Specifications and Availability
Technical Documentation
CMTI Comparison for Allegro Integrated Conductor Current Sensors
How to Analyze and Compare Allegro Current Sensor and ADC Error Components
Differential Current Sensing with the 1 MHz Bandwidth ACS733
Current Sensing in Motor Drives
Package Thermal Resistance for Allegro Current Sensors with Integrated Conductors
Glossary of Isolation-Related Terms for Integrated Current Sensors
Techniques to Mitigate Offset Error of ACS732 and ACS733
Certificate of Compliance 20160520 E316429
Certificate of Compliance 20170510-E316429
Certificate CB US 42444 UL CB Package
CB Certificate US 23711 A2 UL
Certificate of Compliance 20190906-E316429
Certificate CB US 36315 UL MA Package
CB Certificate US-32210-M3-UL