Switches and Latches
2D Hall-Effect Speed and Direction Sensor ICs with Functional Safety
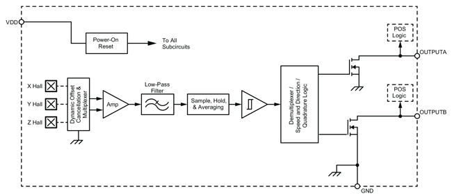
APS12625-6-7-8
The APS12625/6/7/8 family offers robust speed and direction sensing for automotive and industrial applications, with integrated functional safety features and flexible output options. The APS12627/8 provide enhanced low-latency performance for demanding applications.
Product Details
Product Details
Top Features
- Highly flexible and easy-to-use sensor for motor/encoder applications
- 2D magnetic sensing via planar and vertical Hall elements
- Quadrature independent of magnet pole pitch and air gap—no target optimization required
- Works in almost any orientation to the target (XY, ZX, and ZY options)
- Reduces accumulation of lost counts/pulses
- System can restore correct state after power-cycling (-P option)
- Dual outputs of quadrature or speed/direction signals
- High magnetic sensitivity
- Optimized for applications with regulated power rails
- Operation from 2.8 to 5.5 V
- Automotive grade
- AEC-Q100 qualified
- TJ up to 175°C
- Output short-circuit protection
- Resistant to physical stress
- Small size
- ASIL A Compliant
Additional APS12627/8 Features
- ASIL B Compliant
- Low Latency
- Anti-pinch
- 4 µm Output update rate
Target Application
- Electronic Power Steering
- Industrial Motor Control
- White Goods
- In Cabin Motors
- Closure Systems