Switches and Latches

Precision Hall-Effect Latches for Consumer and Industrial Applications

APS13290-1

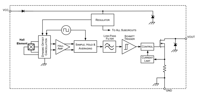
The APS13290/1 Hall-effect latches offer high stability and precision for consumer and industrial applications, with chopper stabilization minimizing offset drift and ensuring reliable performance over extended temperature ranges.

Product Details

Top Features

  • Symmetrical latch switchpoints
  • Superior ruggedness and fault tolerance
  • Reverse-polarity and transient protection
  • Operation from –40°C to 175°C junction temperature
  • Output short-circuit and overvoltage protection
  • Superior temperature stability
  • Resistant to physical stress
  • High EMC immunity, ±12 kV HBM ESD
  • Operation from unregulated supplies, 2.8 to 24 V
  • Chopper stabilization
  • Solid-state reliability
  • Industry-standard packages and pinouts

Part Number Specifications and Availability